|
事项名称 |
建设工程抗震设防要求审批 |
||
|
事项类型 |
行政许可 |
办事对象 |
个人、法人 |
|
法定期限 |
20个工作日 |
承诺期限 |
5个工作日 |
|
实施机关 |
岳阳市地震局 |
责任科室 |
震害防御科 |
|
咨询电话 |
0730-8882048 |
投诉电话 |
0730-8972366 |
|
受理条件 |
1、一般建设工程:(1)《建设工程抗震设防要求确认审批申请表》;(2)《岩土工程地质勘察报告》(3)工程选址平面图。 2、重大建设工程和可能发生严重次生灾害建设工程(甲类工程):《地震安全性评价报告》及湖南省地震局批复。 |
||
|
申报材料 |
《建设工程抗震设防要求审批行政许可申请表》1份 重大建设工程、可能发生严重次生灾害建设工程(甲类工程)需提交地震安全性评价报告及地震安全性评定委员会评审意见、省地震局的行政批复 一般建设工程需提交工程场地地震地质勘察资料和 建设项目设计总图 |
||
|
法定依据 |
《中华人民共和国防震减灾法》第三十五条 新建、扩建、改建建设工程,应当达到抗震设防要求。 重大建设工程和可能发生严重次生灾害的建设工程,应当按照国务院有关规定进行地震安全性评价,并按照经审定的地震安全性评价报告所确定的抗震设防要求进行抗震设防。建设工程的地震安全性评价单位应当按照国家有关标准进行地震安全性评价,并对地震安全性评价报告的质量负责。 前款规定以外的建设工程,应当按照地震烈度区划图或者地震动参数区划图所确定的抗震设防要求进行抗震设防;对学校、医院等人员密集场所的建设工程,应当按照高于当地房屋建筑的抗震设防要求进行设计和施工,采取有效措施,增强抗震设防能力。 |
||
|
收费标准 |
不收费 |
||
|
事项名称 |
未依法进行地震安全性评价,或者未按照地震安全性评价报告所确定的抗震设防要求进行抗震设防的处罚 |
||
|
事项类型 |
行政处罚 |
办事对象 |
法人 |
|
法定期限 |
无 |
承诺期限 |
无 |
|
实施机关 |
岳阳市地震局 |
责任科室 |
震害防御科 |
|
咨询电话 |
0730-8882048 |
投诉电话 |
0730-8972366 |
|
受理条件 |
发生了未依法进行地震安全性评价,或者未按照地震安全性评价报告所确定的抗震设防要求进行抗震设防的违法事实 |
||
|
申报材料 |
违法行为的证据材料 |
||
|
法定依据 |
《中华人民共和国防震减灾法》第八十七条 未依法进行地震安全性评价,或者未按照地震安全性评价报告所确定的抗震设防要求进行抗震设防的,由国务院地震工作主管部门或者县级以上地方人民政府负责管理地震工作的部门或者机构责令限期改正;逾期不改正的,处三万元以上三十万元以下的罚款。 |
||
|
收费标准 |
无 |
||
|
事项名称 |
未取得地震安全性评价资质证书的单位承揽地震安全性评价业务行为的处罚 |
||
|
事项类型 |
行政处罚 |
办事对象 |
法人 |
|
法定期限 |
无 |
承诺期限 |
无 |
|
实施机关 |
岳阳市地震局 |
责任科室 |
震害防御科 |
|
咨询电话 |
0730-8882048 |
投诉电话 |
0730-8972366 |
|
受理条件 |
发生了未取得地震安全性评价资质证书的单位承揽地震安全性评价业务的违法事实 |
||
|
申报材料 |
违法行为的证据材料 |
||
|
法定依据 |
《地震安全性评价管理条例》(国务院令第323号)第二十三条 违反本条例规定,未取得地震安全性评价资质证书的单位承揽地震安全性评价业务的,由国务院地震工作主管部门或者县级以上地方人民政府负责管理地震工作的部门或者机构依据职权,责令改正,没收违法所得,并处1万元以上5万元以下的罚款。 |
||
|
收费标准 |
|||
|
事项名称 |
地震安全性评价单位超越其资质许可的范围承揽地震安全性评价业务等情形的处罚 |
||
|
事项类型 |
行政处罚 |
办事对象 |
法人 |
|
法定期限 |
无 |
承诺期限 |
无 |
|
实施机关 |
岳阳市地震局 |
责任科室 |
震害防御科 |
|
咨询电话 |
0730-8882048 |
投诉电话 |
0730-8972366 |
|
受理条件 |
发生了地震安全性评价单位超越其资质许可的范围承揽地震安全性评价业务等情形的违法事实 |
||
|
申报材料 |
违法行为的证据材料 |
||
|
法定依据 |
《地震安全性评价管理条例》(国务院令第323号)第二十四条 违反本条例的规定,地震安全性评价单位有下列行为之一的,由国务院地震工作主管部门或者县级以上地方人民政府负责管理地震工作的部门或者机构依据职权,责令改正,没收违法所得,并处1万元以上5万元以下的罚款;情节严重的,由颁发资质证书的部门或者机构吊销资质证书:(一)超越其资质许可的范围承揽地震安全性评价业务的;(二)以其他地震安全性评价单位的名义承揽地震安全性评价业务的;(三)允许其他单位以本单位名义承揽地震安全性评价业务的。 |
||
|
收费标准 |
无 |
||
|
事项名称 |
侵占、毁损、拆除或者擅自移动地震监测设施等情形的处罚 |
||
|
事项类型 |
行政处罚 |
办事对象 |
法人 |
|
法定期限 |
无 |
承诺期限 |
无 |
|
实施机关 |
岳阳市地震局 |
责任科室 |
震害防御科 |
|
咨询电话 |
0730-8882048 |
投诉电话 |
0730-8972366 |
|
受理条件 |
发生了侵占、毁损、拆除或者擅自移动地震监测设施等情形的违法事实 |
||
|
申报材料 |
违法行为的证据材料 |
||
|
法定依据 |
《中华人民共和国防震减灾法》第八十四条 违反本法规定,有下列行为之一的,由国务院地震工作主管部门或者县级以上地方人民政府负责管理地震工作的部门或者机构责令停止违法行为,恢复原状或者采取其他补救措施;造成损失的,依法承担赔偿责任:(一)侵占、毁损、拆除或者擅自移动地震监测设施的;(二)危害地震观测环境的;(三)破坏典型地震遗址、遗迹的。单位有前款所列违法行为,情节严重的,处二万元以上二十万元以下的罚款;个人有前款所列违法行为,情节严重的,处二千元以下的罚款。构成违反治安管理行为的,由公安机关依法给予处罚。 |
||
|
收费标准 |
无 |
||
|
事项名称 |
未按照要求增建抗干扰设施或者新建地震监测设施行为的处罚 |
||
|
事项类型 |
行政处罚 |
办事对象 |
法人 |
|
法定期限 |
无 |
承诺期限 |
无 |
|
实施机关 |
岳阳市地震局 |
责任科室 |
震害防御科 |
|
咨询电话 |
0730-8882048 |
投诉电话 |
0730-8972366 |
|
受理条件 |
发生了未按照要求增建抗干扰设施或者新建地震监测设施行为的违法事实 |
||
|
申报材料 |
违法行为的证据材料 |
||
|
法定依据 |
《中华人民共和国防震减灾法》第八十五条 违反本法规定,未按照要求增建抗干扰设施或者新建地震监测设施的,由国务院地震工作主管部门或者县级以上地方人民政府负责管理地震工作的部门或者机构责令限期改正;逾期不改正的,处二万元以上二十万元以下的罚款;造成损失的,依法承担赔偿责任。 |
||
|
收费标准 |
无 |
||
|
事项名称 |
技术合同认定 |
||
|
事项类型 |
行政确认 |
办事对象 |
个人、法人、其他组织 |
|
法定期限 |
无 |
承诺期限 |
无 |
|
实施机关 |
岳阳市科学技术局 |
责任科室 |
科技成果与技术市场科 |
|
咨询电话 |
0730-8872173 |
投诉电话 |
0730-8872173 |
|
受理条件 |
符合《中华人民共和国合同法》、《技术合同认定登记管理办法》、《技术合同认定规则》规定的技术合同。 |
||
|
申报材料 |
1、首次进行技术合同认定登记,应填写《技术合同登记用户注册表》,提供用户注册资料(组织机构代码证、法人身份证、营业执照、税务登记证)原件,提交加盖单位公章的上述资料复印件一套; 2、网上申报登记表 3、依法已经生效的书面合同文本一式四份(至少含一份正本),合同为外文文本的,需提交与外文文本内容一致且具有同等法律效力的中文文本; 4、《技术合同认定规则》中要求申办人出具的其它文件和材料。 |
||
|
法定依据 |
《湖南省技术市场条例》(省十届人大常委会公告第15号)第二十一条 技术交易当事人可以申请省、市(州)人民政府科学技术行政部门对其技术合同是否符合国家和本省规定的享受优惠政策条件进行认定。省、市(州)人民政府科学技术行政部门对符合条件的技术合同,出具认定证明;对不符合条件的,书面答复申请人,并说明理由。认定技术合同不得收费。 技术交易当事人持技术合同认定证明,向税务部门提出申请,经核定,其技术交易的收入享受国家规定的税收优惠政策。 禁止利用无效技术合同或者虚假技术合同,以及使用其他不正当手段骗取技术合同认定证明。 |
||
|
收费标准 |
不收费 |
||
办 理 流 程 图

|
事项名称 |
授予市科学技术奖励 |
||
|
事项类型 |
行政奖励 |
办事对象 |
个人、法人、其他组织 |
|
法定期限 |
无 |
承诺期限 |
无 |
|
实施机关 |
岳阳市科学技术局 |
责任科室 |
科技成果和技术市场科 (市科学技术奖励办公室) |
|
咨询电话 |
0730-8872173 |
投诉电话 |
0730-8872173 |
|
受理条件 |
经科技成果登记的科技成果均可进行申报 |
||
|
申报材料 |
1、《岳阳市科学技术奖励推荐书》; 2、技术评价全套资料; 3、成果应用于生产或技术应用于实践的证明; 4、查新报告; 5、应用类科技成果提供经济效益证明(须盖税务或审计财务专用章); 6、基础类、管理类科技成果提供论文、论著等; 7、其它相关证明。 |
||
|
法定依据 |
1.《湖南省科学技术进步条例》(省第十一届人大常务委员会公告第74号)第九条第一款 省人民政府建立科学技术奖励制度,对在科学技术进步活动中做出重要贡献的组织和个人给予奖励。设区的市、自治州、县、自治县、不设区的市、市辖区人民政府根据本地区条件,建立科学技术奖励制度。 2.《湖南省科学技术奖励办法》(省人民政府令第237号) 第二十八条 市州、县市区人民政府可以设立科学技术奖,具体办法由市州、县市区人民政府参照本办法规定。省国防工业和公安、国家安全部门可以设立部门科学技术奖,奖励范围限于涉及国防、公安和国家安全保密不能公开的项目。 |
||
|
收费标准 |
不收费 |
||
|
事项名称 |
科技成果登记 |
||
|
事项类型 |
行政确认 |
办事对象 |
个人、法人、其他组织 |
|
法定期限 |
无 |
承诺期限 |
无 |
|
实施机关 |
岳阳市科学技术局 |
责任科室 |
科技成果和技术市场科 |
|
咨询电话 |
0730-8872173 |
投诉电话 |
0730-8872173 |
|
受理条件 |
具有鉴定证书、验收报告、评审意见书、软科学成果评审证书、行业准入证明,专利证书、农作物品种权证书或评估报告的科技成果。 |
||
|
申报材料 |
1、纸质材料。提交《科技成果登记表》和《湖南省科技成果信息表》(仅应用技术类成果)一式2份,其中省科技厅留存1份。科技成果第一完成单位须在封面加盖单位公章。 2、电子材料。在“国家科技成果登记系统v7.0”中进行数据录入,由该系统生成数据文件“cgsbqy.zip”,将其与《湖南省科技成果信息表》电子文档一并提交。 3、佐证材料。办理登记时应出示鉴定证书、验收报告、评审意见书、软科学成果评审证书、行业准入证明,专利证书、农作物品种权证书或评估报告等相关证明材料原件,并提交其复印件1份。复印件要求加盖科技成果第一完成单位公章。 |
||
|
法定依据 |
1、国家科技部《科技成果登记办法》(国科发计字〔2000〕542号)第三条 科学技术部管理指导全国的科技成果登记工作。省、自治区、直辖市科学技术行政部门负责本地区的科技成果登记工作;国务院有关部门、直属机构、直属事业单位负责本部门的科技成果登记工作。 2、《湖南省科技成果登记实施办法》(湘科成字〔2013〕54号)第三条 省科技厅归口管理指导全省的科技成果登记和统计工作,负责及时向国家科技成果信息系统上报登记和统计数据。省科技厅授权市州科技局、省直厅局和行管办科技管理部门、国家级高新区、部分大型科研院所和高等学校为下一级科技成果登记受理机构,负责本系统、本部门、本单位的科技成果登记受理和统计工作,负责及时向省科技厅上报登记和统计数据。省科技厅及其授权的科技成果登记受理机构,应当对符合登记条件的科技成果及时予以登记。 |
||
|
收费标准 |
不收费 |
||
|
事项名称 |
在科技成果转化活动中弄虚作假,采取欺骗手段,骗取奖励和荣誉称号、诈骗钱财、非法牟利等情形的处罚 |
||
|
事项类型 |
行政处罚 |
办事对象 |
个人、法人、其他组织 |
|
法定期限 |
无 |
承诺期限 |
无 |
|
实施机关 |
岳阳市科学技术局 |
责任科室 |
科技成果和技术市场科 |
|
咨询电话 |
0730-8872173 |
投诉电话 |
0730-8872173 |
|
受理条件 |
书面举报、发现问题线索。 |
||
|
申报材料 |
提交举报、发现问题线索和有关证据纸质材料。 |
||
|
法定依据 |
1.《中华人民共和国促进科技成果转化法》第三十一条 违反本法规定,在科技成果转化活动中弄虚作假,采取欺骗手段,骗取奖励和荣誉称号、诈骗钱财、非法牟利的,责令改正,取消该奖励和荣誉称号,没收违法所得,并处以罚款。给他人造成经济损失的,依法承担民事赔偿责任。构成犯罪的,依法追究刑事责任。 第三十二条 违反本法规定,对科技成果进行检测或者价值评估,故意提供虚假检测结果或者评估证明的,责令改正,予以警告,没收违法所得,并对该检测组织者、评估机构处以罚款;情节严重的,依法吊销营业执照和资格证书。给他人造成经济损失的,依法承担民事赔偿责任。 第三十四条 违反本法规定,以唆使窃取、利诱胁迫等手段侵占他人的科技成果,侵犯他人合法权益的,依法承担民事赔偿责任,可以处以罚款;构成犯罪的,依法追究刑事责任。 第三十六条 在技术交易中从事代理或者居间服务的中介机构和从事经纪业务的人员,欺骗委托人的,或者与当事人一方串通欺骗另一方当事人的,责令改正,予以警告,除依法承担民事赔偿责任外,没收违法所得,并处以罚款;情节严重的,依法吊销营业执照和资格证书;构成犯罪的,依法追究刑事责任。 2.《湖南省实施<中华人民共和国促进科技成果转化法>办法》(湖南省第九届人民代表大会常务委员会公告) (第38号)第二十六条 对违反本办法的单位和个人,由县级以上人民政府科学技术行政部门依照《中华人民共和国促进科技成果转化法》的有关规定处理。其中给予罚款处罚的,按照下列规定执行:(一)依照促进科技成果转化法第三十一条、第三十二条规定处以罚款的,罚款额为违法所得一倍以上三倍以下;(二)依照促进科技成果转化法第三十四条、第三十六条规定处以罚款的,罚款额为五千元以上二万元以下。 第二十七条 科学技术行政部门和其他有关部门工作人员在科技成果转化活动中滥用职权、玩忽职守、徇私舞弊的,依法给予行政处分;构成犯罪的,依法追究刑事责任。 |
||
|
收费标准 |
不收费 |
||
|
事项名称 |
封存或者扣押有证据证明是假冒专利的产品等措施 |
||
|
事项类型 |
行政强制 |
办事对象 |
个人或团体 |
|
法定期限 |
无 |
承诺期限 |
无 |
|
实施机关 |
岳阳市科学技术局 |
责任科室 |
专利执法与监督科 |
|
咨询电话 |
073012330 |
投诉电话 |
073012330 |
|
受理条件 |
假冒专利产品 |
||
|
申报材料 |
无 |
||
|
法定依据 |
《中华人民共和国专利法》第六十四条 管理专利工作的部门根据已经取得的证据,对涉嫌假冒专利行为进行查处时,可以询问有关当事人,调查与涉嫌违法行为有关的情况;对当事人涉嫌违法行为的场所实施现场检查;查阅、复制与涉嫌违法行为有关的合同、发票、账簿以及其他有关资料;检查与涉嫌违法行为有关的产品,对有证据证明是假冒专利的产品,可以查封或者扣押。 管理专利工作的部门依法行使前款规定的职权时,当事人应当予以协助、配合,不得拒绝、阻挠。 |
||
|
收费标准 |
无 |
||
|
事项名称 |
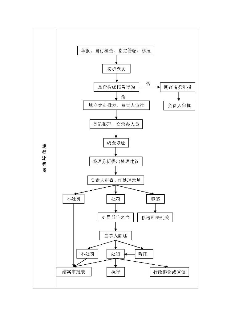
假冒专利的处罚 |
||
|
事项类型 |
行政处罚 |
办事对象 |
个人或团体 |
|
法定期限 |
一个月 |
承诺期限 |
一个月 |
|
实施机关 |
岳阳市科学技术局 |
责任科室 |
专利执法与监督科 |
|
咨询电话 |
073012330 |
投诉电话 |
073012330 |
|
受理条件 |
假冒专利行为成立 |
||
|
申报材料 |
无 |
||
|
法定依据 |
《中华人民共和国专利法》第六十三条 假冒专利的,除依法承担民事责任外,由管理专利工作的部门责令改正并予公告,没收违法所得,可以并处违法所得四倍以下的罚款;没有违法所得的,可以处二十万元以下的罚款;构成犯罪的,依法追究刑事责任。 《湖南省专利条例》第四十六条 违反本条例第二十三条第一款规定,假冒专利的,除依法承担民事责任外,由县级以上人民政府管理专利工作的部门责令改正并予公告,没收违法所得,可以并处违法所得一倍以下的罚款,没有违法所得的,可以处一万元以下的罚款;情节严重的,并处违法所得一倍以上二倍以下的罚款,没有违法所得的,处一万元以上十万元以下的罚款;情节特别严重的,并处违法所得二倍以上四倍以下的罚款,没有违法所得的,处十万元以上二十万元以下的罚款。 第四十七条 违反本条例第二十三条第二款规定,故意为假冒专利行为提供便利条件的,由县级以上人民政府管理专利工作的部门责令停止违法行为,依法予以处罚。 《专利行政执法办法》第四十七条 管理专利工作的部门认定假冒专利行为成立的,可以按照下列方式确定行为人的违法所得:(一)销售假冒专利的产品的,以产品销售价格乘以所销售产品的数量作为其违法所得;(二)订立假冒专利的合同的,以收取的费用作为其违法所得。 |
||
|
收费标准 |
无 |
||
|
事项名称 |
再次侵犯相同专利权以及为假冒专利行为提供便利条件的处罚 |
||
|
事项类型 |
行政处罚 |
办事对象 |
个人或团体 |
|
法定期限 |
一个月 |
承诺期限 |
一个月 |
|
实施机关 |
岳阳市科学技术局 |
责任科室 |
专利执法与监督科 |
|
咨询电话 |
073012330 |
投诉电话 |
073012330 |
|
受理条件 |
请求管理专利工作的部门处理专利侵权纠纷的,应当符合下列条件: (一)请求人是专利权人或者利害关系人; (二)有明确的被请求人; (三)有明确的请求事项和具体事实、理由; (四)属于受案管理专利工作的部门的受案和管辖范围; (五)当事人没有就该专利侵权纠纷向人民法院起诉。 第一项所称利害关系人包括专利实施许可合同的被许可人、专利权人的合法继承人。专利实施许可合同的被许可人中,独占实施许可合同的被许可人可以单独提出请求;排他实施许可合同的被许可人在专利权人不请求的情况下,可以单独提出请求;除合同另有约定外,普通实施许可合同的被许可人不能单独提出请求。 |
||
|
申报材料 |
1、请求管理专利工作的部门处理专利侵权纠纷的,应当提交请求书及下列证明材料: (一)主体资格证明,即个人应当提交居民身份证或者其他有效身份证件,单位应当提交有效的营业执照或者其他主体资格证明文件副本及法定代表人或者主要负责人的身份证明; (二)专利权有效的证明,即专利登记簿副本,或者专利证书和当年缴纳专利年费的收据。专利侵权纠纷涉及实用新型或者外观设计专利的,管理专利工作的部门可以要求请求人出具由国家知识产权局作出的专利权评价报告(实用新型专利检索报告)。 请求人应当按照被请求人的数量提供请求书副本及有关证据。 2、请求管理专利工作的部门调解专利纠纷的,应当提交请求书。 请求书应当记载以下内容: (一)请求人的姓名或者名称、地址,法定代表人或者主要负责人的姓名、职务,委托代理人的,代理人的姓名和代理机构的名称、地址; (二)被请求人的姓名或者名称、地址; (三)请求调解的具体事项和理由。 单独请求调解侵犯专利权赔偿数额的,应当提交有关管理专利工作的部门作出的认定侵权行为成立的处理决定书副本。 |
||
|
法定依据 |
1、《中华人民共和国专利法》第六十条 未经专利权人许可,实施其专利,即侵犯其专利权,引起纠纷的,由当事人协商解决;不愿协商或者协商不成的,专利权人或者利害关系人可以向人民法院起诉,也可以请求管理专利工作的部门处理。管理专利工作的部门处理时,认定侵权行为成立的,可以责令侵权人立即停止侵权行为,当事人不服的,可以自收到处理通知之日起十五日内依照《中华人民共和国行政诉讼法》向人民法院起诉;侵权人期满不起诉又不停止侵权行为的,管理专利工作的部门可以申请人民法院强制执行。进行处理的管理专利工作的部门应当事人的请求,可以就侵犯专利权的赔偿数额进行调解;调解不成的,当事人可以依照《中华人民共和国民事诉讼法》向人民法院起诉。 2.《中华人民共和国专利法实施细则》第八十五条 除专利法第六十条规定的外,管理专利工作的部门应当事人请求,可以对下列专利纠纷进行调解: (一)专利申请权和专利权归属纠纷; (二)发明人、设计人资格纠纷; (三)职务发明创造的发明人、设计人的奖励和报酬纠纷; (四)在发明专利申请公布后专利权授予前使用发明而未支付适当费用的纠纷; (五)其他专利纠纷。 对于前款第(四)项所列的纠纷,当事人请求管理专利工作的部门调解的,应当在专利权被授予之后提出。 3、《专利行政执法办法》(国家知识产权局令第六十号)第六条 管理专利工作的部门可以依据本地实际,委托有实际处理能力的市、县级人民政府设立的专利管理部门查处假冒专利行为、调解专利纠纷。委托方应当对受托方查处假冒专利和调解专利纠纷的行为进行监督和指导,并承担法律责任。 4、《湖南省专利条例》(省十一届人大常委会公告公告第63号)第二十四条 县级以上人民政府管理专利工作的部门应当加强专利执法队伍建设,健全专利执法机制,及时依法处理专利侵权纠纷,查处假冒专利行为,调解专利纠纷,保护专利权人的合法权益。 |
||
|
收费标准 |
无 |
||
|
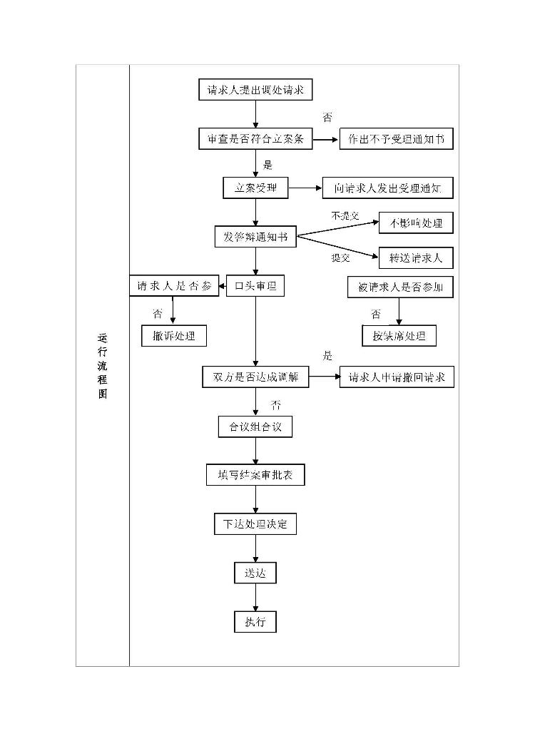
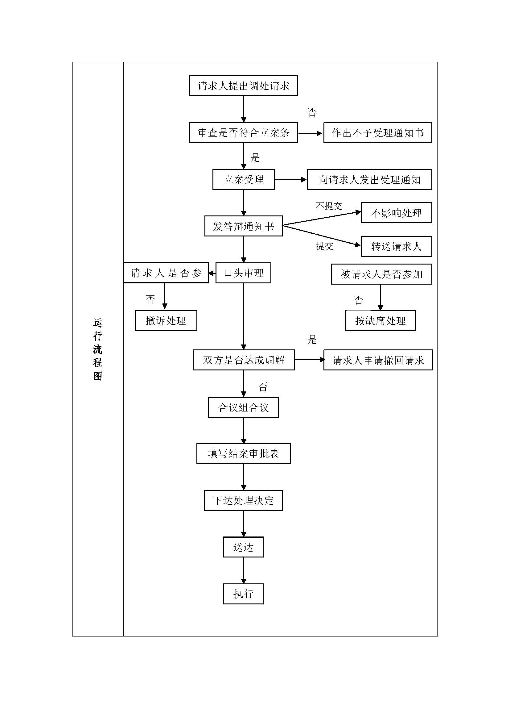
事项名称 |
专利纠纷调处 |
||
|
事项类型 |
行政裁决 |
办事对象 |
个人或团体 |
|
法定期限 |
三个月 |
承诺期限 |
三个月 |
|
实施机关 |
岳阳市科学技术局 |
责任科室 |
专利执法与监督科 |
|
咨询电话 |
073012330 |
投诉电话 |
073012330 |
|
受理条件 |
请求管理专利工作的部门处理专利侵权纠纷的,应当符合下列条件: (一)请求人是专利权人或者利害关系人; (二)有明确的被请求人; (三)有明确的请求事项和具体事实、理由; (四)属于受案管理专利工作的部门的受案和管辖范围; (五)当事人没有就该专利侵权纠纷向人民法院起诉。 第一项所称利害关系人包括专利实施许可合同的被许可人、专利权人的合法继承人。专利实施许可合同的被许可人中,独占实施许可合同的被许可人可以单独提出请求;排他实施许可合同的被许可人在专利权人不请求的情况下,可以单独提出请求;除合同另有约定外,普通实施许可合同的被许可人不能单独提出请求。 |
||
|
申报材料 |
1、请求管理专利工作的部门处理专利侵权纠纷的,应当提交请求书及下列证明材料: (一)主体资格证明,即个人应当提交居民身份证或者其他有效身份证件,单位应当提交有效的营业执照或者其他主体资格证明文件副本及法定代表人或者主要负责人的身份证明; (二)专利权有效的证明,即专利登记簿副本,或者专利证书和当年缴纳专利年费的收据。专利侵权纠纷涉及实用新型或者外观设计专利的,管理专利工作的部门可以要求请求人出具由国家知识产权局作出的专利权评价报告(实用新型专利检索报告)。 请求人应当按照被请求人的数量提供请求书副本及有关证据。 2、请求管理专利工作的部门调解专利纠纷的,应当提交请求书。 请求书应当记载以下内容: (一)请求人的姓名或者名称、地址,法定代表人或者主要负责人的姓名、职务,委托代理人的,代理人的姓名和代理机构的名称、地址; (二)被请求人的姓名或者名称、地址; (三)请求调解的具体事项和理由。 单独请求调解侵犯专利权赔偿数额的,应当提交有关管理专利工作的部门作出的认定侵权行为成立的处理决定书副本。 |
||
|
法定依据 |
1、《中华人民共和国专利法》第六十条 未经专利权人许可,实施其专利,即侵犯其专利权,引起纠纷的,由当事人协商解决;不愿协商或者协商不成的,专利权人或者利害关系人可以向人民法院起诉,也可以请求管理专利工作的部门处理。管理专利工作的部门处理时,认定侵权行为成立的,可以责令侵权人立即停止侵权行为,当事人不服的,可以自收到处理通知之日起十五日内依照《中华人民共和国行政诉讼法》向人民法院起诉;侵权人期满不起诉又不停止侵权行为的,管理专利工作的部门可以申请人民法院强制执行。进行处理的管理专利工作的部门应当事人的请求,可以就侵犯专利权的赔偿数额进行调解;调解不成的,当事人可以依照《中华人民共和国民事诉讼法》向人民法院起诉。 2.《中华人民共和国专利法实施细则》第八十五条 除专利法第六十条规定的外,管理专利工作的部门应当事人请求,可以对下列专利纠纷进行调解: (一)专利申请权和专利权归属纠纷; (二)发明人、设计人资格纠纷; (三)职务发明创造的发明人、设计人的奖励和报酬纠纷; (四)在发明专利申请公布后专利权授予前使用发明而未支付适当费用的纠纷; (五)其他专利纠纷。 对于前款第(四)项所列的纠纷,当事人请求管理专利工作的部门调解的,应当在专利权被授予之后提出。 3、《专利行政执法办法》(国家知识产权局令第六十号)第六条 管理专利工作的部门可以依据本地实际,委托有实际处理能力的市、县级人民政府设立的专利管理部门查处假冒专利行为、调解专利纠纷。委托方应当对受托方查处假冒专利和调解专利纠纷的行为进行监督和指导,并承担法律责任。 4、《湖南省专利条例》(省十一届人大常委会公告公告第63号)第二十四条 县级以上人民政府管理专利工作的部门应当加强专利执法队伍建设,健全专利执法机制,及时依法处理专利侵权纠纷,查处假冒专利行为,调解专利纠纷,保护专利权人的合法权益。 |
||
|
收费标准 |
无 |
||












